Technické parametre:
- otáčateľný odtok vody o 360°
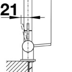
- ø 35 mm otvor
- kartuš s keramickými tesneniami
- flexibilné hadičky s dĺžkou 450 mm a 3/8‘‘ maticou pre jednoduchú inštaláciu
- stabilizačná platnička na zvýšenie stability kuchynskej batérie pri jej zabudovaní do nerezových drezov
- patentovaný perlátor znižuje tvorbu vodného kameňa
- LGA certifikát
- DVGW certifikát




















Recenzie
Nikto zatiaľ nepridal hodnotenie.